一、开展2024年教学工作会议暨暑期工作会议现场布置、环境清洁、绿植摆放工作。



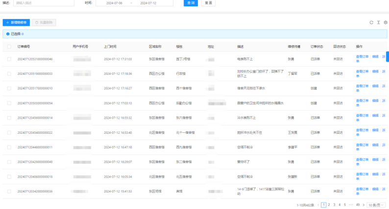
二、07月06日-07月12日18:00,客服部共接到482条报修并及时安排人员处理。

三、丹麦小镇工程:一层商业地坪整理;一区钢结构安装;二区钢结构基础钢筋绑扎,封模板。

四、CUBA南侧运动公园:二号场地砂石垫层铺设完成;一号场地土方平整;花池砌筑。

五、行政楼一二层装修改造工程:拆除完成80%;木工进场开始放线,施工隔断。

六、日常搬运工作。

七、大雨天防汛工作。


八、改雨水管。

九、贴电梯标示图。

十、箱变巡检。

十一、园丁楼管道改造。

十二、日常维修工作。



十三、夜间巡查。

十四、对校园绿化进行草花栽种、除草剂打药、防护围栏制作安装、绿篱修剪、雨季修剪清理危险树枝、杂草清理等工作。



十五、对校园环境进行地面冲洗、雕塑冲洗、高处除尘、落叶清理、人行道道沿除草、大雨天气教学楼排水等工作。



十六、宫馆项目开展了负二层排污泵维修、南门异响维修、雨天地库步行入口放挡水沙袋、园区雨水篦清掏、园区垃圾桶清洁、园区花卉种植等工作。



十七、能源服务部清洗机房壳管,维修中水增压泵,更换过滤器并对配电柜进行安全检查,保障空调及热水服务。
