一、圆满完成第四届中原高等教育(国际)论坛活动的物品搬运、喷泉开放、电梯保障、场馆空调供应、卫生清洁等后勤工作。



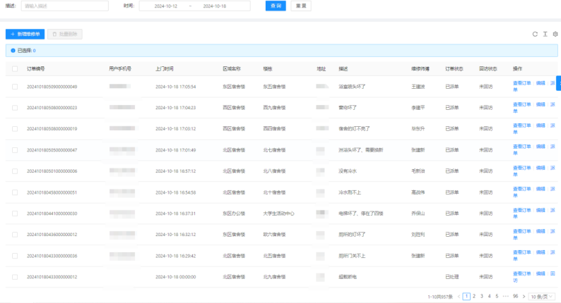
二、10月12日-10月18日17:00,客服部共接到957条报修并及时安排人员处理。

三、丹麦小镇工程:景观完成80%;地面石材铺设完成90%;一层商业已完工。

四、工程实训中心工程:钢结构开始吊装。

五、第七餐厅工程:继续吊装钢柱。

六、拆除宿舍防盗窗。

七、维修雨水篦子。

八、学校大面积停电后的供电保障。

九、日常维修。




十、夜间巡查。

十一、物业服务部定期开展员工安全培训。

十二、对校园绿化进行草花补种、草坪修剪割草、滴灌带铺设、干枝断枝清理、未成活草花清理、落叶清理、绿化防护栏制作安装、绿化空白地麦冬栽种、苗木悬挂药剂、乔灌木修剪等工作。





十三、对校园环境进行了地面冲洗、雕塑冲洗、道沿除草、高空除尘、落叶清理、室外设施(导示牌、果皮箱、灯杆)擦拭、图书馆北广场清洁、图书馆宴会厅清洁、五餐三楼清洁等工作。





十四、宫馆项目开展了生活水泵房设备检修、下水管维修、帮业主关窗、园区干枝清除、天台垃圾清扫,交房手续办理、重阳节义诊、重阳节义剪等工作。




十五、空调制冷停供期间能源服务部开展了机房水泵维修、空调主机壳管清洗、机房空调主机保养、空调系统阀门转换、配电柜检修等工作。

