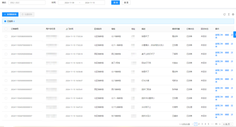
一、11月09日-11月15日17:20,客服部共接到850条报修并及时安排人员处理。
二、丹麦小镇工程:二三层成品家具安装到位;二三层装修完成80%。

三、工程实训中心工程:钢结构吊装完成95%;地梁钢筋绑扎完成,模板支设完成。
四、高中教室改造:一层墙面油漆开始批白完成60%;二到四层移交房间墙面已铲除完成,原黑板拆除处已粉刷完成。

五、1号教学楼装修改造工程:一层三间资料室开始拆除。
六、第七餐厅建设项目:主体钢结构梁柱吊装完成80%。

七、北九北侧修舞台。

八、检修教室桌椅。

九、化粪池清理。

十、修建挡土墙。

十一、修建设备池子。

十二、日常维修。




十三、夜间巡查。

十四、物业服务部定期开展保洁专业技能培训、仪容仪表及西亚斯企业文化培训。


十五、对校园绿化进行了9-10号教学楼草坪整改、大树涂白、播撒草籽、法国园北侧区域场地平整、绿化斑秃区域整改、绿化防护围栏制作安装、落叶清理、杂草拔除等工作。




十六、对校园环境进行了地面冲洗、水系打捞、落叶清理、死角卫生清洁、投放老鼠药、外环公共卫生间清洁、垃圾桶擦拭、五餐精细化保洁等工作。




十七、宫馆项目开展了负二层照明维修、保洁仓库货架焊接、羽毛球网架安装、游乐场地面冲洗、售楼部门前卫生保洁、业主活动中心物品陈列贴签、业主恳谈会等工作。




十八、空调制冷停供期间能源服务部针对中水泵站水泵、变频器及配电柜进行维修保养并检修,安排员工对机房内主机设备运行检查,对空调过滤网进行清洗等工作,确保冬季供暖设备安全运行。

