一、11月08日-11月14日17:25,客服部共接到945条报修并及时安排人员处理。

二、中专宿舍楼周边改造工程:花池破除完成100%;土方清运完成100%;北侧人行道破除完成100%;破除垃圾清运完成100%;场地平整完成30%;南侧人行道破除完成50%;南侧人行道破除垃圾完成50%。
三、明礼书院两侧安装停车器。

四、丹麦小镇回填电缆沟以及恢复路面。

五、宫馆北侧搭建围挡。

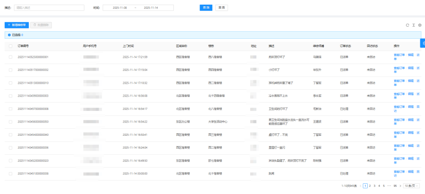
六、日常维修。





七、夜间巡查。

八、物业服务部定期开展员工安全培训、技能培训。


九、对校园绿化进行了大树涂白、干枝断枝清理、空白区域麦冬补种、落叶清理、绿化防护围栏制作安装、苗木支撑杆加固、乔灌木修剪、杂草清理等工作。




十、对校园环境进行了丹麦小镇地面冲洗、高空除尘、消杀、垃圾点位冲刷、水系打捞、车棚清理、落叶清理、卫生间冲洗等工作。




十一、宫馆项目开展了机动车道地面清洗、安保人员捡到业主遗失手机、张贴电动车充电收费标准调整公示牌、张贴南门出入安全温馨提示、更换游乐场高杆灯灯泡、各楼栋电梯张贴乘梯须知、悬挂业主车牌号、车辆规范停车管理.等工作。




十二、为保障冬季正常供暖能源服务部组织员工对中水泵站配电设施及阀门进行更换,对中水供水泵进行大修,通过检查各区机房空调机组及配电设施检修,为校区广大师生供暖、热水供应做好保障。


